Problema autonomiei pe telefoanele inteligente din ziua de azi o cunoaştem cu toţii, însă din păcate producătorii se fac că nu au soluţii pentru aceasta. În loc să primim smartphone-uri cu autonomie de 3-4 zile, companiile ne fentează cu tot felul de soluţii de încărcare a bateriilor care uneori funcţionează, alteori sunt doar marketing (încărcare rapidă, încărcare wireless care nu prea e wireless şi tot aşa).
Se pare că Sony vrea să vină cu o altă idee şi mai năstruşnică şi a patentat o tehnologie de încărcare a bateriei unui telefon prin intermediul altui telefon şi nu numai. Pe scurt, eu îmi voi putea încărca wireless smartphone-ul utilizând energia altui device.
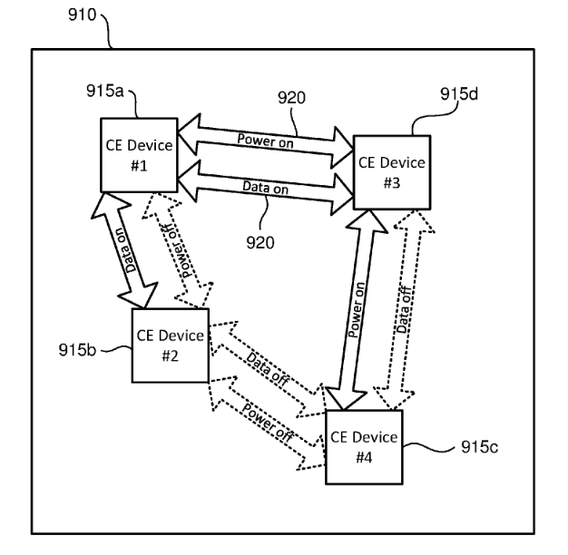
Patentatul US20170064283 spune că noua tehnologie Sony va putea transfera wireless atât energie, cât şi date, între două electronice: smartphone-uri, tablete, televizoare, computere etc. Pentru a face acest lucru, cele două terminale ar trebui să integreze un sistem de antene în stilul celui NFC existent deja pe numeroase telefoane. Acest sistem va include câte două antene / device: una pentru transfer de energie şi cealaltă pentru transfer de date.

Acelaşi patentat ne spune că procesul de transfer (indiferent dacă este de energie sau de date) se va face pe acelaşi principiu ca Wi-Fi hotspot. Cineva va căuta un device compatibil şi se va conecta la acesta. Dacă vor fi mai multe rezultate, îşi va putea selecta fără probleme unul dintre acestea.
Până aici totul sună bine. Această tehnologie are şi o mica / mare hibă: pentru a se putea face transferul de energie, celălalt device trebuie să fie conectat la priză. Nu se va putea trimite energie de la un terminal care este pe propria baterie. Pam, pam.
Această tehnologie Sony ar putea fi utilă atunci când îţi uiţi încărcătorul acasă şi te ajută cineva care îl are la el, însă mi se pare destul de limitată. Cred că Sony o poate cizela şi nu mi-ar displăcea să vedem baterii externe cu încărcare wireless (adevărata încărcare wireless).
Mulţumim de pont Tudor P.